Deskové uzávěry vnitřního zauhlování kotle FK4 – GO kotle

V roce 2019 se Elektrárna Ledvice (ČEZ a.s.) rozhodla dále provozovat jeden z původních fluidních kotlů (FK4). Představovalo to provedení GO kotle, která proběhla v měsících 7-11/2019. Součástí této akce byla také GO vnitřního zauhlování kotle. Vnitřní zauhlování kotle FK4 sestává ze čtyř zauhlovacích linek.
Mimo jiných dodávek a oprav zde proběhla výměna starých, již dožitých deskových uzávěrů za nové, moderního technického provedení. Naše firma v rámci GO vnitřního zauhlování dodávala 25 kusů nových uhelných deskových uzávěrů...

Deskové uzávěry vnitřního zauhlování kotle FK4 – GO kotle

ČEZ, a.s., Elektrárna Ledvice: FK4 v rámci jeho GO – generální dodavatel díla: TRANSPORTA Technology s.r.o.

Rozsah dodávky:

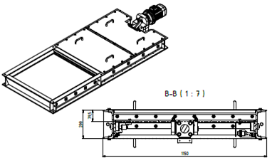
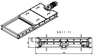
  • 17 kusů uhelných deskových uzávěrů ovládaných elektropohonem DU 1000-1000-EP
    - instalovaných pod výsypy zásobníků surového uhlí do řetězových podavačů paliva (4 kusy)
  • 4 kusy uhelných deskových uzávěrů ovládaných elektropohonem DU 750-800-EP
    - instalovaných pod výsypnými otvory řetězových podavačů paliva – uzavírají při odstavení řetězového podavače a jeho případném servisu
  • 4 kusy uhelných deskových uzávěrů ovládaných ručně DU 450-450-RP
    - instalovaných v potrubí, do kterého je dopraveno upravené uhlí z řetězových podavačů paliva a kde se mísí s horkým vzduchem a putuje do hořáků kotle FK4 – uzávěry pro případ servisu
  • Účast při uvádění do provozu, seřízení


Technický popis uhelných deskových uzávěrů:

  • Šířka x délka uzavíraného prostoru 1000x1000mm, 750x800mm, potrubí DN 500
  • Uzavírací deska z NEREZ oceli
  • Kvalitní utěsnění uzavírací desky vůči okolnímu prostředí (zamezení úniku uhelného prachu do okolí)
  • Pohonná jednotka: hřídel s dvouchodým pohybovým šroubem + bronzová matice, čelní elektropřevodovka v závěsném provedení
  • Signalizace polohy Otevřeno / Zavřeno (provozní + havarijní sada koncových spínačů)

Pokud porovnáme konstrukční provedení nových uhelných deskových uzávěrů s původními, očekáváme značné omezení úniku uhelného prachu kolem uzavírací desky do okolí. Dále by se měla znatelně zvýšit životnost a především provozní spolehlivost uhelných deskových uzávěrů. Stroje byly uvedeny do provozu v 11/2019.