Deskové uzávěry vnitřního zauhlování kotle FK4

ČEZ a.s., Elektrárna Ledvice

 

Popis vnitřního zauhlování kotle FK4:

Vnitřní zauhlování kotle FK4 je složeno ze čtyř mlýnských okruhů, konkrétně zásobníky surového uhlí (ZSU), 4x řetězový podavač paliva, 25ks uhelný deskový uzávěr, svodky a potrubí, které přivádí upravené uhlí + horký vzduch k hořákům

V rámci GO vnitřního zauhlování kotle FK4 bylo dodáno:

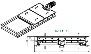
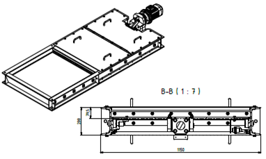
  • 17 kusů nových uhelných uzávěrů typ DU 1000-1000-EP (pod ZSU)
  • 4 kusy nových uhelných uzávěrů typ DU 750-800-EP (pod redlery)
  • 4 kusy nových uhelných uzávěrů typ DU 450-450-EP (potrubí upraveného uhlí + horký vzduch před hořáky)

Technický popis uhelných deskových uzávěrů:

  • Šířka x délka uzavíraného prostoru 1000x1000mm, 750x800mm, potrubí DN 500
  • Uzavírací deska z NEREZ oceli
  • Kvalitní utěsnění uzavírací desky vůči okolnímu prostředí
  • Pohon: hřídel s dvouchodým pohybovým šroubem + bronzová matice, elektropřevodovka
  • Signalizace polohy Otevřeno / Zavřeno (provozní + havarijní sada koncových spínačů)